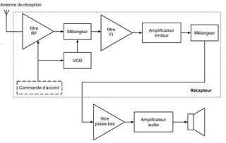
Fichier:Recepteur schema fonctionnel.jpg
De Wiki de Projets IMA
Révision datée du 15 février 2019 à 12:36 par Jwatine (discussion | contributions)
Taille de cet aperçu : 800 × 508 pixels. Autres résolutions : 320 × 203 pixels | 974 × 619 pixels.
Fichier d'origine (974 × 619 pixels, taille du fichier : 71 Kio, type MIME : image/jpeg)
Historique du fichier
Cliquer sur une date et heure pour voir le fichier tel qu'il était à ce moment-là.
| Date et heure | Vignette | Dimensions | Utilisateur | Commentaire | |
|---|---|---|---|---|---|
| actuel | 15 février 2019 à 12:36 | 974 × 619 (71 Kio) | Jwatine (discussion | contributions) |
- Vous ne pouvez pas remplacer ce fichier.
Utilisation du fichier
La page suivante utilise ce fichier :